
深圳市隆创威科技有限公司
电话:0755-27940487
传真:0755-27947798
邮箱:huangyaxuan@hiwinlcw-sz.com
联系人:黄经理(13530975992)
地址:深圳市宝安区西乡街道宝民二路贤基大厦一栋二层210
网址:www.hiwinLcw-sz.com
技术问答
常见问题解答
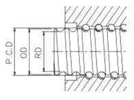
- 1.DN值定义为何?DN值的安全极限?
-
DN值定义:以DmN值来评定滚珠丝杠高速性,Dm为滚珠丝杠上下滚珠之中心圆直径(P.C.D),N为丝杠最大回转数,所以DmN值即表示滚珠之公转速度,DmN值即为该滚珠丝杠的设计高速极限。
为方便计,以丝杠外径D取代Dm。以50ψx 30 滚珠丝杠而 言,当丝杠最大回转数为3000rpm时,DN值可达15万,最大进给速度为 90 m/min。
- 2.高DN值与高导程的应用差异性为何?
-
- 3.高DN值与高导程的差异性
-
设计理念:
高导程 : 以丝杠导程增加,提升进给速度
高DN值:回转数与导程之有效平衡考量如精度、动静负荷、临界速度、 惯性力诱发振动、温升等高速化引发的问题。
- 4.工具机与射出机滚珠丝杠之比较为何?
-
工具机 工具机 射出机 定位 负荷 一般行程 短行程(润滑点) 一般寿命 耐久性 表面剥落即不堪使用 能传动即不堪使用 疲劳损坏以螺母为先 疲劳损坏以丝杠为先 - 5.自润式滚珠丝杠之比较

- 6.丝杠材质及特性为何?
-
材质:滚珠丝杠之丝杠材质一般是使用高碳合金钢(参照下表)等材质;
特性:高碳合金钢含碳量达0.45%以上,适合感应热处理,能使材料具有良好的表面硬度及表面耐磨耗性,滚珠丝杠因此具有优良的使用寿命;同时由于材料的心部未麻田散铁化而保持变韧铁组织,抗拉强度高而韧性强,故丝杠不易因为冲击性的负荷而发生断裂。
- 7.螺母材质及特性如何?
-
材质:滚珠丝杠之螺母材质一般是使用SCM415H、SCM420H、SNCM220等低碳合金钢(参照下表)。
特性:低碳合金钢适合使用渗碳淬火的热处理硬化方式,使材料具有良好的表面硬度及表面耐磨耗性,滚珠丝杠因此具有良好的使用寿命;同时由于材料的心部未麻田散铁化而保持变韧铁组织,抗拉强度高而韧性强。
- 8.滚珠丝杠的预压产生方式有哪几种设计?其差异为何?
-
A:
1.单螺母预压:(包含过大钢珠预压方式、导程偏移预压方式)
1.单螺母预压:(包含过大钢珠预压方式、导程偏移预压方式)
B
1.单螺母预压:(包含过大钢珠预压方式、导程偏移预压方式)
2.导程偏移预压方式:(加大节距或缩小节距)
特征:在螺母节距上作δ值的偏移来取代传统双螺母预压方式,此方式较适用于中轻预压,最好将预压力设计在5%动负荷以下。
3.拉伸预压方式
特征:使用一过厚的预压片将两个螺母外张方式达到预压之效果,此为HIWIN精密级滚珠丝杠最常使用的方式。
4.压缩预压
特征:由较薄的预压片,再以螺栓将两螺母锁紧一起,达到预压之效果。





